104,00 €*
*Preise ohne MwSt.
Artikelnummer: 7470040000
Downloads
Technische Spezifikationen

Produktdatenblatt

Technische Zeichnung

Isometrische Zeichnung
Bildmaterial

Produktbild
Gesamtdownload
ZIP-Datei
- geeignet für: Cavere Care: Stützklappgriffe und Wandstützgriffe vario, Grundplatte mit Blindabdeckung vario, Klappsitz, Rückenlehne mit Montageplatte Inox Care: Stützklappgriffe und Wandstützgriffe vario, Grundplatte mit Blindabdeckung vario Nylon Care: Stützklappgriffe und Wandstützgriffe vario, Grundplatte mit Blindabdeckung vario Verso Care Duo: Stützklappgriffe vario Ascento: Modulare Sitzlösung
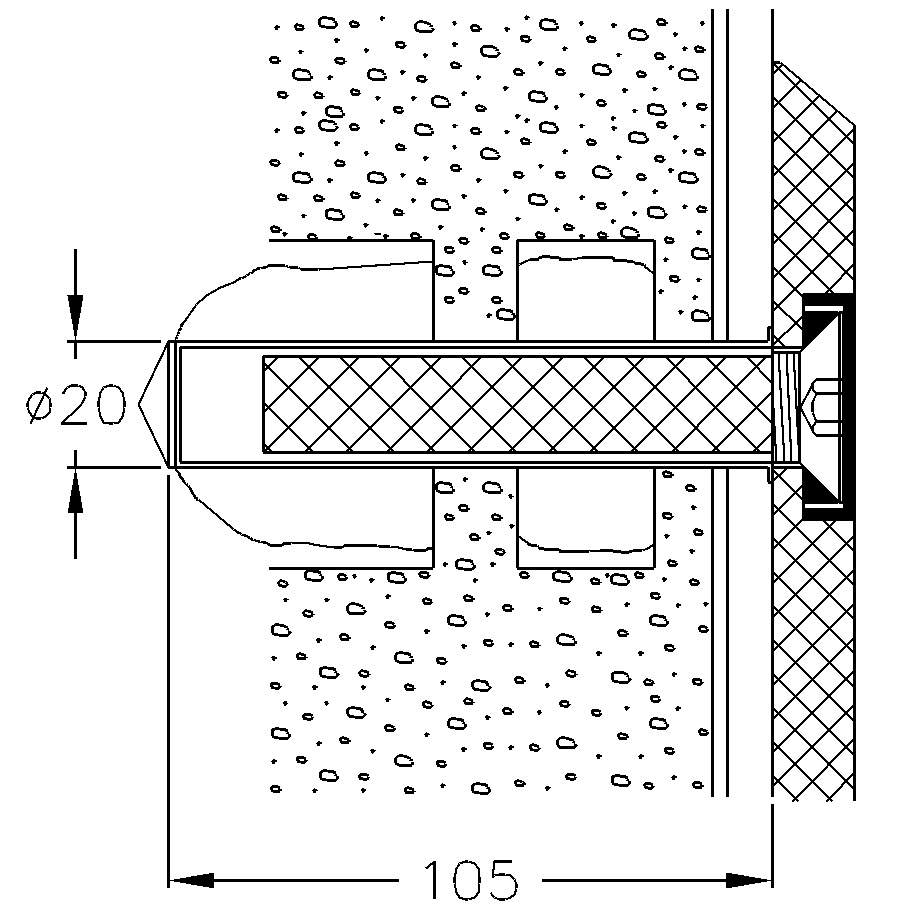
- mit Dichtelementen zur normgerechten Abdichtung der Bohrpunkte (DIN 18534-1)
- Achtung: Artikel mit Ablaufdatum
- die Montage ist vom Fachpersonal auszuführen
- das Montageset ist bauaufsichtlich zugelassen
- Produktkategorie : Montageset
- Produktausführung : zur Befestigung an Mauerwerk aus Lochstein (mit Injektions-Kartusche)
- Produktgruppe : 7000
- Material & Lieferumfang : 4 Innengewindehülsen aus Stahl Ø 15 x 75 mm/M10, 4 Siebhülsen Ø 20 x 100 mm, 4 Senkkopfschrauben M10 x 30 mm aus Edelstahl A4-AISI 316, 1 Injektions-Kartusche mit Verbundmörtel145 cm³, 4 Dichtelementen zur normgerechten Abdichtung der Bohrpunkte (DI
- Wandbeschaffenheit : Mauerwerk aus Lochgestein:Hochglanzleistung HLz ≥ 12, Kalksandlochstein KSL ≥ 12, Hohlblockstein ≥ Hbl4, Hbn4 andere Lochsteine, Beton/Leichtbeton, Vollziegel ≥ Mz12, Kalksand- Vollstein ≥ KS12, Naturstein mit dichtem Gefüge, Vollbims
- Farbe : Farblos

Ausschreibungstexte
ausschreiben.de
Broschüren & Kataloge
NORMBAU website
Hersteller

Normbau GmbH
Schwarzwaldstraße 15
77871 Renchen
Germany
normbau@allegion.com